模擬手排的自排?Porsche 新專利讓排檔桿同時支援兩種駕駛方式
2026-03-22 22:00:00
1
 

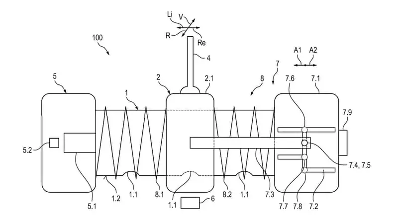
Porsche近期申請了一項新的變速箱換檔裝置專利,目標是讓同一套系統同時具備自排與手排操作感。這項專利早在 2024 年 8 月就向德國專利商標局提出申請,但直到今年 3 月才正式公開,也引起不少車迷關注。

這套設計的核心是一個線控式排檔桿。基本操作與一般自排車類似,排檔桿可以前後移動,在前進檔、空檔與倒車檔之間切換,因此對一般駕駛來說並不需要重新適應新的操作方式。

不過特別之處在於,這個排檔裝置同時加入了類似傳統手排的 H 型換檔結構。駕駛可以像操作手排車一樣,透過左右與前後移動排檔桿選擇檔位,讓自排變速箱也能提供更接近手排的操控體驗。

為了讓操作感更真實,系統內部會透過感測器追蹤排檔桿的動作,再搭配彈簧與電動馬達模擬機械換檔的阻尼與回饋。如此一來,不論車輛搭載的是傳統液力變矩器自排,或是雙離合器變速箱,都能提供類似手排的操作感受。

當然,目前這項技術仍停留在專利階段,是否真的會導入量產車還很難說。不過這樣的概念也讓人聯想到Koenigsegg曾推出的創新變速技術,如果未來真的實現,或許能為自排車帶來更有參與感的駕駛體驗。
相關新聞推薦
RELATED ARTICLES-

速度與舒適|《Nissan X-TRAIL NISMO》輸出沒變 首次導入可變阻尼避震器
-

同級唯一V6 PHEV 全新 Audi RS 5 Sedan / Avant 車重破2.3噸 零百3.6秒!
-

營運壓力未解 《Audi》執行長:成本必須再砍
-

N系列是品牌光環!《Hyundai》寧願繳億元罰金 也要賣性能車
-

為何Mustang不再用Shelby之名?Ford改推Dark Horse背後的原因
-

大改款《Toyota RAV4》產線恐撤出美國 PEHV新增前驅車 拚貨物稅減半
-

為什麼 Ferrari 拖這麼久才想推出第一台電動車?
-

越野傳奇回歸!《Mitsubishi Pajero》預計2年內重返台灣
品牌相關文章
RELATED ARTICLES-

《Porsche 992.2 GT3 RS》恐改用渦輪 GT家族界線越來越淡
-

雙旗艦戰略轉型《Porsche》擬整合 Panamera 與 Taycan 命名體系
-

Porsche中國大降價! Cayenne新車65折 約台幣286萬元
-

太子集團法拍名車|Porsche 911 Turbo 50 Years
-

召回一次不夠!台灣《Porsche Taycan》仍有火燒車風險 擴大召回2,104輛
-

保時捷推 911 GT3 Manthey 套件:更快、更狠、更下壓
-

打臉電動化轉型!燃油《Porsche Macan》比純電版還暢銷 卻難逃夏季停產的命運
-

《Porsche》電動車戰略再次轉彎|新世代718電改油 延續中置引擎傳統


類似Koenigsegg CC850上的可手排可自排的那組變速箱嗎?